技術士第一次試験 平成20年度 専門科目《建設部門》
問題・正解・解説
| 専門科目(建設部門)正解一覧 | ||||||||||
| 4-1 | 2 | 4-11 | 1 | 4-21 | 3 | 4-31 | 2 | |||
| 4-2 | 5 | 4-12 | 2 | 4-22 | 1 | 4-32 | 3 | |||
| 4-3 | 3 | 4-13 | 1 | 4-23 | 5 | 4-33 | 1 | |||
| 4-4 | 2 | 4-14 | 2 | 4-24 | 1 | 4-34 | 2 | |||
| 4-5 | 5 | 4-15 | 5 | 4-25 | 3 | 4-35 | 4 | |||
| 4-6 | 3 | 4-16 | 1 | 4-26 | 2 | |||||
| 4-7 | 5 | 4-17 | 4 | 4-27 | 2 | |||||
| 4-8 | 2 | 4-18 | 4 | 4-28 | 1 | |||||
| 4-9 | 1 | 4-19 | 4 | 4-29 | 1 | |||||
| 4-10 | 3 | 4-20 | 3 | 4-30 | 1 | |||||
4-1 下図に示すように、断面積Aの容器に長さLの砂試料を設定し、上部の水面を一定位置に保ちながら給水を行った。試料を通過した水をパイプを通して小さな容器に導き、この容器の水位を一定に保ちながらあふれる水の量を測定した(木頭差はhである)。ある程度水を流して定常状態になったときを見計らって、あふれる水の量を測定すると、単位時間当たりQであった。ダルシーの法則が成り立つとすると、この砂試料の透水係数だは次のうちどれか。ただし、砂試料の下には金網が挿入されているものとし、図示の位置に固定されているものとする。また、水が受ける金網の抵抗は無視するものとする。

(1) k=QAL/h (2) k=QL/hA (3) k=Q/hAL (4) k=Qh/LA (5) k=QA/hL
---------
正解は2
---------
(臨時掲示板より引用)
|
4-2 土の圧密に関する次の記述のうち、誤っているものはどれか。
(1) Ko圧密は、三軸圧縮試験において円柱供試体の外周囲の側方向変位が生じない状態で行う圧密をいう。
(2) 圧密降伏応力は、粘土が弾性的(可逆的)な圧密挙動を示す過圧巻の範囲から塑性的(非可逆的)な圧密挙動を示す正規圧巻の範囲に移行する境界の応力をいう。
(3) 一次圧密は、圧巻曲線の圧密量のうち、熱伝導型圧巻方程式の解に従う圧密度100%までに対応する部分をいう。
(4) 過剰間隙水圧は、圧密か終了したときの定常状態における間隙水圧を基準とし、それを上回る分の間隙水圧をいう。
(5) 過圧密とは、土が過去に受けた圧密履歴を表す用語の一つであり、現在受けている有効土被り圧の大きさが、先行圧密圧力より大きくなっている状態をいう。
---------
正解は5
---------
「現在受けている有効土被り圧」と「先行圧密圧力」の関係が逆です。(先行>有効です)
※19年度も4-2は圧密に関する問題で、過圧密に関する正確な理解を確認する問題でした。そのときの正解選択肢(誤った記述)は、「過圧密とは、土が過去に受けた圧密履歴を表す用語の一つであり、現在受けている有効土被り圧の大きさが、先行圧密圧力より大きくなっている状態をいう。」でした。つまり、まったく同じです。
4-3 土のせん断に関する次の記述のうち、誤っているものはどれか。
(1) ダイレイタンシーとは、せん断に伴い体積を変えようとする性質である。
(2) 三軸試験は、一面せん断試験と比べて供試体の主応力が明確で、供試体内に比較的一様な応力、ひずみを与え得ること、排水条件の制御と間隙水圧の測定が比較的容易なことなどの特長を有している。
(3) 鋭敏比とは、粘性土の乱さない試料と、これを乾燥させて練り返した練返し試料のそれぞれの非排水せん断強さの比である。
(4) リングせん断試験(ねじり一囲せん断試験)の利点は、供試体が端面を持たないため、非常に大きな変位領域まで連続的にせん断できることである。
(5) 限界状態とは、せん断される土が初期状態にかかわらず、破壊時にある状態に収束することをいう。
---------
正解は3
---------
乾燥させるのではなく含水比を変えずに練り返します。
4-4 ある土試料を採取したところ、湿潤単位体積重量がγt、含水比がw、比重がGsであった。水の単位体積重量をγwとすると、この土試料の乾燥単位体積重量γdと間隙比eの式として、正しいものは次のうちどれか。
(1) γd=γt/(1+w) e=w・Gsγw/γt−1
(2) γd=γt/(1+w) e=(1+w)・Gsγw/γt−1
(3) γd=γt/w e=w・Gsγt/γw−1
(4) γd=γt/w e=(1+w)・Gsγw/γt−1
(5) γd=γt/w e=(1+w)・Gsγt/γw−1
---------
正解は2
---------
知識として知っていなくても簡単に解けます。γdについては、wが非常に小さいカラカラの状態を考えると、wではなく1+wで除することがわかります。これで選択肢(1)と(2)のみが残ります。同じ理由で間隙比eもwを乗ずるのではなく1+wを乗ずることがわかります。
※問題の内容としては19年度の4-5と同系統のものです。こういった土の基本的状態を表す式については毎年出ていることになります。
4-5 土圧、支持力、基礎及び斜面安定に関する次の記述のうち、誤っているものはどれか。
(1) 受働土圧は、擁壁などが背面に押し込まれるときのように、土を水平方向に圧縮していくとき、水平土圧が次第に増大し最終的に一定値に落ち着いた状態で発揮される土圧である。
(2) 許容支持力は、構造物の重要性、土質定数の精度今上の鋭敏性などを考慮して、極限支持力を適当な安全率で割って求められる。
(3) 直接基礎は、上部構造からの荷重を基礎スラブの底面から地盤に直接伝える基礎のことである。
(4) 斜面の安全率の定義の一つは、土のせん断強度をすべり面に働くせん断力で除した値として定義される。
(5) 円弧すべり面を仮定した斜面の安定計算法には、摩擦円法、簡便分割法、ウェッジ法などがある。
---------
正解は5
---------
ウェッジ法(知っている人は少ないかもしれないけれど^^;)は円弧すべり面ではなく直線すべりを仮定します。なお臨時掲示板では(4)が誤りではないかという議論もありましたが、円弧すべりの簡便分割法計算式などはまさに(4)の考え方で計算します。
4-6 下図に示すように、トラスの節点dに荷重4Pが作用している。部材acに発生する軸力として、正しいものは@〜Dのうちどれか。ただし、下図のトラスの各節点を結ぶ部材の長さは全てLであり、軸力は引張りを正とする。

(1) -√3/3P (2) -2√3/3P (3) √3/3P (4) 2√3/3P (5) √3P
---------
正解は3
---------
(臨時掲示板より陳さんのレスを引用)
導出:作用力位置がa点から3/2L、e点から1/2L、a点反力Ra=(4P*1/2L)/(2L)=P
a点の接点法で(Ra(直角辺)・Nab(斜辺)・Nac(直角辺)から力の三角形になる)Nac=Ra/TANθ=P*√3/3P
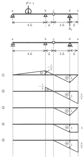
4-7 下図に示すような点cにヒンジを有するゲルパー梁aeがある。支点dの支点反力Rdの影響線として、正しいものは@〜Dのうちどれか。ただし、支点反力Rdは上向きを正とする。

---------
正解は5
---------
(臨時掲示板より引用)
作用点が右端(e)の場合を考えると反力は3/2
よって2)か5)の2択になる
ここでb)に加重1が作用した場合を考えれば全ての加重はb)が受け、反力0であることがわかる
よって2)が消える
まずヒンジの左側の作用がdの反力に影響できないことから1)2)を消してもよい
4-8 溶接継手に関する次の記述のうち、誤っているものはどれか。
(1) 炭素当量Ceqは、鋼材の溶接性を示す指標として、しばしば用いられる。
(2) 溶接時の溶融凝固によって起こる割れを低温割れという。
(3) 通常、溶接棒は、接合しようとする鋼母材の静的強度と同等以上の強度のものが用いられる。
(4) 溶接入熱量が大きすぎると溶接金属部、熱影響部のじん性値が低下するなどの問題が生じるため、入熱量を制限することが多い。
(5) 高強度鋼や極厚の鋼板の溶接では、溶接割れを防ぐなどの健全な溶接を得るために予熱処理などの前処理が必要となることが多い。
---------
正解は2
---------
記述は高温割れの内容です。
4-9 コンクリートに関する次の記述のうち、正しいものはどれか。
(1) コンクリートのワーカビリティーの判定に用いられるスランプ試験やスランプフロー試験は,JISに規定されており、現場において簡便に行うことのできる方法として普及している。
(2) コンクリートに混入した空気は、コンクリートの強度を低下させたり、コンクリート中の鉄筋を腐食させたりする原因となるため、人工的に混入させてはならない。
(3) 一般の土木工事に使用されるコンクリートの圧縮強度は、5〜15N/mm2程度であるが、高強度コンクリートと呼ばれるコンクリートの圧縮強度は、その倍の30N/mm2程度である。
(4) コンクリートの圧縮強度は、一般に水セメント比が大きいほど大きくなり、コンクリートの耐久性も向上する。
(5) コンクリートの引張強度は、圧縮強度や曲げ強度に比べて低く、圧縮強度の1/3程度である。
---------
正解は1
---------
(臨時掲示板より陳さんのレスを引用)
@コンクリート工事だったら、普通にやっている。
A単位水量を減らし、施工性・品質向上のため、AE剤を混入して微小気泡を人工的に導入するのが当たり前のこと。
B土木工事一般的に18〜40N/mm2、高強度コンクリートは60〜80N/mm2
C逆、コンクリートの圧縮強度は、一般に水セメント比が小さいほど大きくなり、コンクリートの耐久性(耐アルカリ・耐凍性・水密性)も向上する。
Dコンクリートの引張強度は、圧縮強度や曲げ強度に比べて低く、圧縮強度の1/10程度である。
4-10 単一管路系の水の流れに関する次の記述のうち、誤っているものはどれか。
(1) ピエゾ水頭は、位置水頭と圧力水頭の和である。
(2) 流れ方向に管路の断面積が一定のときは、エネルギー線と動水勾配線は平行となる。
(3) 流れ方向に管路の断面積が大きくなると、その前後で流量は減少する。
(4) 全エネルギーは、エネルギー損失のために流れ方向に減少する。
(5) 管路の水平箇所では、流れ方向に管路の断面積が小さくなると、その前後で圧力水頭は減少する。
---------
正解は3
---------
流速はともかく、流量が変化することはありません。連続式より明らかです。
4-11 河川関係の各種法令などに関する次の記述のうち、誤っているものはどれか。
(1) 水防法において、洪水による災害の発生を特に警戒すべき水位を「特別警戒水位」といい、「はん濫危険水位」とも呼称される。
(2) 河川管理者が河川法に基づき河川整備計画を策定するに際しては、必要に応じ、河川整備計画で定める目標を達成するための代替案との比較などを説明する。
(3) 河川法における市町村工事制度は、二級河川だけでなく、指定区閣外をも含む一級河川も対象としている。
(4) 特定都市河川浸水被害対策法により、特定都市河川波域内の宅均等以外の土地において、雨水の浸透を著しく妨げるおそれのある、宅地等にするために一定規模以上の土地の形質変更をしようとする者は、あらかじめ都道府県知事の許可を得なければならない。
(5) 公共土水施設災害復旧事業費国庫負担法において災害復旧事業は、被災施設を原形に復旧するものを原則としているが、原形に復旧することが著しく困難または不適当な場合に、これに代わるべき必要な施設を整備するものも含まれる。
---------
正解は1
---------
「はん濫危険水位」でなく「避難判断水位」です。
はん濫注意水位(警戒水位)→避難判断水位(特別警戒水位)→はん濫危険水位(危険水位)とレベルが上がっていきます。
4-12 河川堤防に関する次の記述のうち、誤っているものはどれか。
(1) 河川堤防の浸透に対する安全性の照査は、のり面のすべり破壊と基礎地盤のパイピング破壊について行う。
(2) 洪水時の流水に対しては、粘性土より重量のある砂礫質で表のり面を被覆した河川堤防が洗掘されにくい。
(3) 余裕高とは、河川堤防の構造上必要とされる高さの余裕であり、計画上の余裕は含まない。
(4) 河川堤防のり面においては、その強度維持及び外観点検のために、適切な回数の除草を行うものとする。
(5) 河川堤防の浸透水を安全に排水する場合には、必要に応じてドレーン工を設けるものとする。
---------
正解は2
---------
「表のり面の被覆」つまり覆土ですから不透水性の材料でないといけません。
4-13 河川・ダム内の土砂に関する次の記述のうち、誤っているものはどれか。
(1) ダム貯水池の上流側の堆積層は、主にウォッシュロードにより構成される。
(2) 掃流砂とは、流水の直接の作用を受けて流路床上を転動、滑動する流砂をいう。また浮遊砂とは、流水の乱れによる拡散現象により浮遊して輸送される流砂をいう。
(3) 限界掃流力とは、土砂を押し流そうとする力と河床との摩擦によって流れに抵抗する力とがつり合った状態で、河床にある土砂が移動を開始する限界のときの掃流力をいう。
(4) 人為的要因による河床変動量の調査では、砂、砂利の採取許可数量などを調査し、経年的に各区間における砂、砂利採取量及び河床低下量を算出するものとする。
(5) 床固め又は床止めとは、河床の洗掘を防ぐとともに河道の勾配などを安定させ、河川の縦断または横断形状を維持するために、河川を横断して設ける施設をいう。
---------
正解は1
---------
ウォッシュロードは貯水池上流側ではなくダム堤体付近に堆積します。
4-14 砂防施設に関する次の記述のうち、誤っているものはどれか。
(1) 透過型砂防えん堤は、土石塊を捕捉し減勢する施設として用いられ、土石塊により透過部を閉塞させて土石塊を捕捉することを基本とする。
(2) 床固工は、渓床の縦侵食防止や渓床堆積物の再移動防止のための施設として用いられ、その計画において落差を与えないことに留意する。
(3) 水制工は、流水の流向制御及び流路幅の限定によって渓岸の侵食・崩壊を防止する施設として用いられ、原則として渓床勾配が急でないところに計画する。
(4) 護岸工は、渓岸の侵食・崩壊を防止する施設として用いられ、渓流内の自然度が高くなるように配慮した計画とするのが望ましい。
(5) 導流工は、土石流などを安全に下流域に導流する施設として用いられ、原則として掘り込み方式として計画する。
---------
正解は2
---------
床固工は落差工と帯工に分類され、前者は落差があります。
4-15 土石流に関する次の記述のうち、誤っているものはどれか。
(1) 土石流の発生形態には、渓床上に堆積していた土砂礫に水が供給されて流動化するものの他に、山腹崩壊土砂が斜面上を滑動する間にその構造が壊れて水と混合されて流動化するものがある。
(2) 土石流が発生する流域の大きさは、1km2以下が多い。
(3) 土石流による流出土砂量は、数千〜5万m3程度が多い。
(4) 土石流は、先頭部が段波状を呈し巨礫が集まって流下することが多く、礫の最大のものは直径数mに達する場合がある。
(5) 土石流は、渓床勾配5〜15度の区間で発生することが多い。
---------
正解は5
---------
20度以上で多数発生し5度以下では堆積します。
4-16 防波堤に関する次の記述のうち、誤っているものはどれか。
(1) 直立堤は、堤体を透過する波及び漂砂を防止し、反射波を少なくする。
(2) 傾斜堤は、軟弱地盤にも適用でき海底地盤の凹凸に関係なく施工できる。
(3) 混成堤は、水深の大きな箇所、比較的軟弱な地盤にも適する。
(4) 消波工は、反射波や越波を減らす目的あるいは威力を弱める目的で使用される。
(5) 防波堤の安定計算に通常用いる外力は、威力、静水圧、浮力、自重などである。
---------
正解は1
---------
直立堤は反射並みが大きくなります。
4-17 空港に関する次の記述のうち、誤っているものはどれか。
(1) 滑走路の方位選定では、航空機の離着陸が風上に向かって行われることが安全かつ有利であることから、できる限り恒風方向に合うように配置する必要がある。
(2) 滑走路の長さは、気温、標高、滑走路の縦断勾配などの諸条件を考慮して、決定する必要がある。
(3) 滑走路面のグルービングは、湿潤状態の滑走路で航空機の高速走行時に起きやすいハイドロプレーニング現象を抑制する効果がある。
(4) 着陸帯とは、航空機の着陸あるいは離陸のために準備された空港内の限定された長方形の区域である。
(5) 空港用地の勾配は、航空機の地上走行の安全を確保するために降雨永の滞水を少なくするように考慮しながら、できるだけ平坦なものとする必要がある。
---------
正解は4
---------
航空法第2条の5「この法律において「着陸帯」とは、特定の方向に向かって行う航空機の離陸(離水を含む。以下同じ。)又は着陸(着水を含む。以下同じ。)の用に供するため設けられる飛行場内の矩形部分をいう。」とあります。
4-18 火力発電所の立地条件として、次の記述のうち、誤っているものはどれか。
(1) 復水器冷却用水が容易に得られること。
(2) 発電所用地だけでなく燃判・の貯油などのための広大な用地の入手が可能なこと。
(3) 燃料の受け入れが容易なこと。
(4) 地盤が強固でなければならないこと。
(5) 台風、洪水、高潮、津波などの自然災害に対して安全であること。
---------
正解は4
---------
杭を打てば問題ありません。沖積平野の海岸付近にも普通に作られていますよね。
4-19 ダム建設によって貯水池が出現した場合に生じる貯水池の水質変化に問する次の記述のうち、誤っているものはどれか。
(1) 濁水長期化現象は、出水時に濁った河川水が貯水池に貯留されることで、出水後長期間にわたって濁水が下流に放流される現象である。
(2) 水温変化現象は、ダム下流の河川水温が貯水池の影響によって、貯水池の出現する以前に比べ水温が変化する現象である。
(3) 富栄養化現象は、窒素やリン濃度の高い河川に建設された貯水池において植物プランクトンが大量に発生し、水の外観の悪化・異臭味などの問題が生じるほか、水中の溶存酸素が欠乏してしまう現象である。
(4) 貯水容量が流入量に比べて相対的に小さいダム貯水池で、冷水などの水温変化、濁水長期化が問題となるケースが多い。
(5) ダム貯水池の水質変化の予測については、貯水池をモデルとした鉛直一次元などのシミュレーションによる方法が採用されることがある。
---------
正解は4
---------
「貯水容量」と「流入量」が逆です。つまりなかなか水が入れ替わらないと、夏は暖められ冬は冷やされて水温が変化しますし、出水時に入ってきた濁水もいつまでも貯水池の中に溜まったままになります。水が頻繁に入れ替わると、水温も変化しにくく濁水もどんどん流されてなくなるので問題が発生しにくくなります。
4-20 「道路橋示方書(I共通編)・同解説(平成14年3月)」に規定される、我が国の道路橋の設計で用いられる荷重に関する次の記述のうち、誤っているものはどれか。
(1) 都道府県道の橋の設計で用いる低荷重は、B活荷重である。
(2) 吊橋の主ケーブル及び補剛げたを設計する場合、活荷重による衝撃は考慮しない。
(3) 鋼矢板などたわみやすい構造に作用する土圧の計算には、クーロン土圧を用いる。
(4) 吊橋、斜張橋などのたわみやすい橋については、風による動的な影響を考慮して設計する。
(5) 設計で用いる基準温度は、気候が普通の地方と寒冷な地方とで異なっている。
---------
正解は3
---------
たわみやすい構造にはクーロン土圧を用いてはいけません。
4-21 車道及び側帯の舗装の性能とその性能指標に関する組合せとして、誤っているものは次のうちどれか。
舗装の性能 性能指標
(1) 疲労破壊抵抗性 疲労破壊輸数
(2) 塑性変形抵抗性 塑性変形輸数
(3) ひび割れ耐久性 平たん性
(4) 雨水などの透水能力 浸透水量
(5) すべり抵抗性 すべり抵抗値
---------
正解は3
---------
少なくとも平坦性は指標とはなりえません。よくわかりませんが、ひずみ変形みたいなものかな?
4-22 道路区間400mの両端で交通量を60秒間観測し、3台の車両を観測した。各車両は40km/h, 40km/h、80km/hの一定速度で走行していた。このとき空間平均速度は次のうちどれになるか。
(1) 48km/h (2) 50km/h (3) 53km/h (4) 60km/h (5) 63km/h
---------
正解は1
---------
なんと計算問題です。
(臨時掲示板より引用)
交通流量=交通密度×空間平均速度
交通流量
3(台/分)×60(分)=180(台/時)
(交通密度)
1台目:0.4(km)/40(km/時)=0.01(時間)=36(秒・台)
2台目:上に同じ
3台目:0.4(km)/80(km/時)=0.005(時間)=18(秒・台)
{(36(秒・台)+36(秒・台)+18(秒・台))/60(秒)}/0.4(km)=3.75(台/km)
空間平均速度
180(台/時)=3.75(台/km)×空間平均速度
空間平均速度=180(台/時)÷3.75(台/km)=48(km/時)
4-23 道路の構造及び設計に関する次の記述のうち、正しいものはどれか。
(1) 計画交通量は、計画、設計を行う路線の将来通行するであろう自動車の日交通量のことで、計画目標年における30番目日交通量とすることが一般的である。
(2) 道路の線形設計は、必ずしも自動車の速度が関係して定まるものではないため、設計速度は道路の構造を決定する重要な要素とはならない。
(3) 車線数は、当該道路の実際の構造、交通条件から定まる交通容量を求め、設計時間交通量との割合に応じて定めるのが一般的である。
(4) 車線の幅員は、走行時の快適性に大きな影響を与えるため、路線の設計速度にかかわらず設計交通量に応じて定めるのが一般的である。
(5) 建築限界内には、橋脚、橋台、照明施設、防護柵、信号機、道路標識、並木、電柱などの諸施設を設けることはできない。
---------
正解は5
---------
(1)・・・・× 年間の平均交通量。
(2)・・・・× 道路構造を決定する上で非常に重要な要素。
(3)・・・・× 設計時間交通量ではなく、計画交通量(日平均)。
(4)・・・・× 交通量と設計速度に応じて定めるのが合理的。
(5)・・・・○ そのとおり。
4-24 シールドトンネルに関する次の記述のうち、誤っているものはどれか。
(1) 土圧シールドエ法は、沖積の砂礫、砂、シルト、粘土などの固結度が低い軟弱地盤、洪積地盤及び硬軟入りまじっている互層地盤など、土質面から最も適用範囲の広い工法である。
(2) シールドトンネルのセグメントと地山との間の空隙(テールボイド)に充填材を注入することを裏込め注入という。
(3) 立坑は、シールドの投入と搬出、方向転換、組立と解体、掘進中の土砂の搬出、資機材の搬入と搬出などのための作業坑である。
(4) セグメントの継手面には、トンネルとしての止水性を確保するために、シール材などによる止水工を施さなければならない。
(5) トンネルの地中接合部、分岐剖、立坑取付部などのように覆工構造が急変する部分では、大きな断面力が発生することが考えられ、地震の影響を検討する必要がある。
---------
正解は1
---------
土圧シールドではなく泥土圧シールドです。
4-25 トンネルの山岳工法で用いられるロックボルトの作用効果に関する次の記述のうち、誤っているものはどれか。
(1) 亀裂の発達した中硬岩、硬岩地山の場合、亀裂によって区切られた不安定な岩塊を瀕部の地山と一体化し、そのはく落や抜け落ちを抑止する。
(2) 中硬岩、硬岩地山の場合、亀裂に交差してロックボルトを打設すると、亀裂面のせん断強度が向上し、見かけの物性改良効果が期待できる。
(3) 軟岩地山、土砂地山の場合、ロックボルトに発生するせん断力が吹付けコンクリートを介して坑壁に作用することで見かけの内圧効果が発揮され、周辺地山の塑性化とその拡大を抑制する。
(4) 吹付けコンクリートと地山の付着が損なわれた場合、ロックボルトが吹付けコンクリートを地山に縫い付けることによって、荷重を支持することが期待できる。
(5) 強度の小さい軟岩地山、土砂地山の場合、ロックボルトの打設によって地山のせん断抵抗が増加して降伏後の残留強度も向上し、見かけの物性改良効果が期待できる。
---------
正解は3
---------
せん断力ではなく引っ張り力です。
4-26 鉄道工学における停車場に関する次の記述のうち、誤っているものはどれか。
(1) プラットホームの有効長は、原則として、そこに発着する列車の中の旅客車の長さ以上でなければならない。
(2) 一般的に、プラットホームの幅は、両側使用の場合は中央部2m以上、端部1.5m以上、片側使用の揚合は中央部3m以上、端部2m以上としている。
(3) プラットホームの高さは、車両の乗除目の床面とできる限り平らになるようにする。
(4) 旅客用通路や階段の幅は、流動に支障のないようにする必要があり、一般に1.5m以上としている。
(5) 一目当たりの平均的な利用音数が5,000人以上である鉄道駅については、原則としてすべての鉄道駅についてバリアフリー化施設整備を進める必要がある。
---------
正解は2
---------
普通鉄道構造規則第33条に、「プラットホームの両側を使用するものにあっては中央部を3メートル、端部を2メートル、片側を使用するものにあっては中央部を2メートル、端部を1.5メートル以上」とあります。
4-27 国土形成計画に関する次の記述のうち、誤っているものはどれか。
(1) 国土形成計画とは、国土の利用、整備、保全を推進するための総合的がつ基本的な計画である。
(2) 国土形成計画は、全国計画と地方総合開発計画からなる。
(3) 全国計画の作成手続においては、国土交通大臣は国民の意見を反映させるために必要な措置を講じなければならない。
(4) 都道府県・指定都市は、全国計画又はその変更の案の作成について、素案を添えて、国土交通大臣に対し提案することができる。
(5) 全国計画作成後一定期間経過したときには、政策評価法に基づく政策評価(政策レビュー)を行うこととする。
---------
正解は2
---------
全国計画と広域地方計画からなります。
4-28 都市計画の地域制などに開する次の記述のうち、誤っているものはどれか。
(1) 容積率とは、建築物の各階の床面積の合計(地階も含む、ただし全床面積の1/5までの駐車借用床面積は含まない)を建築面積(地面に投影した最大床面積)で除したものである。
(2) 建ぺい率とは、建築物の建築面積の敷地面積に対する割合である。
(3) 斜線制限とは、|日照・通風・採光など都市生活に一定の空間条件を確保する目的で、隣地や道路の境界からある範閣内で建築を制限する限界線のことである。
(4) 日影規制は、用途地域のうち商業地域、工業地域及びエ業専用地域にはない。
(5) 再開発事業などで建築敷地の中に公開空地を取り込むような場合には、この公開空地と建築物の設計を一体として設計し、建築物の制限容積率に一定のボーナス(拡大)を与える制度がある。
---------
正解は1
---------
建築面積ではなく敷地面積で除したものです。
4-29 幹線交通網評価に用いる4段階推定法に開する次の記述のうち、誤っているものはどれか。
(1) 分析単位となるゾーンは、調査圏域と周辺地域を分割して設定され、発生・集中量の大きい都市圈中心部では大きなゾーン区分になるのに対し、都市圈周辺部では細かなゾーン区分となるのが通例である。
(2) ゾーン別発生量、集中屋の推定には、原単位法、クロス分類法、重回帰モデル法が使われている。
(3) 分布交通量の推定に用いられるフレーター法は、現在パターン法の一つである。
(4) 交通手段別分担交通量の推定に用いられる集計ロジットモデルは、パラメータ推定か容易であり、線形モデルに比べて推計分担率が必ずOと1の間におさまる利点がある。
(5) 配分交通量の推定に用いられる最適配分には、利用者最適(等時間配分)とシステム最適(総走行時間最小)がある。
---------
正解は1
---------
中心部では細かな、周辺部では大きなゾーン区分になります。
4-30 建設工事の安全管理に関する次の記述のうち、誤っているものはどれか。
(1) バックホウは掘削機械であり、いかなる場合であっても荷の吊り上げに使用してはならない。
(2) 墜落災害の防止のため、高さ2m以上で墜落の危険のある箇所で作業を行う場合には作業床を設置しなければならない。これが困難なときは、墜落による労働者の危険を防止する措置を講じなければならない。
(3) 墜落により労働者に危険を及ぼすおそれのある箇所に設置する手すりの高さは75cm以上必要である。
(4) 砂から成る地山の手掘り掘削作業の危険の防止のために、掘削面の勾配は35度以下、又は掘削面の高さを5m未満としなければならない。
(5) 酸素欠乏の状態とは、空気中の酸素の濃度が18%未満である状態をいう。
---------
正解は1
---------
吊ってもいい場合について労働安全衛生規則に定めがあります。
(臨時掲示板から引用)
労働安全衛生規則
第164条(主たる用途以外の使用の制限)
1 事業者は、車両系建設機械を、パワー・ショベルによる荷のつり上げ、クラムシェルによる労働者の昇降等当該車両系建設機械の主たる用途以外の用途に使用してはならない。
2 前項の規定は、次のいずれに該当する場合には適用しない。
一 荷のつり上げの作業を行う場合であって、次のいずれにも該当するとき。
イ 作業の性質上やむを得ないとき又は安全な作業の遂行上必要なとき。
ロ アーム、バケット等の作業装置に次のいずれにも該当するフック、シャックル等の金具その他つり上げ用の器具を取り付けて使用するとき。
(1) 負荷させる荷重に応じた十分な強度を有するものであること。
(2) 外れ止め装置が使用されていること等により当該器具からつり上げた荷が落下するおそれのないものであること。
(3) 作業装置から外れるおそれのないものであること。
二 荷のつり上げの作業以外の作業を行う場合であって、労働者に危険を及ぼすおそれのないとき。
4-31 施工法に関する次の記述のうち、誤っているものはどれか。
(1) 大規模掘削工事におけるベンチカット工法は、掘削対象の最上部に平坦なベンチ盤を造成し、削岩機で垂直あるいは斜めの穿孔を行って発破により階段状に切り下がる工法である。
(2) サンドコンパクションパイルエ法は、軟弱粘性土地盤中に多数の砂柱を設けて間隙水の排水距離を短くし、圧密を早期に収束させて地盤強度を向上させる工法である。
(3) 打込み杭工法は、既製杭に衝撃力を加えることにより地中に貫入、打設するものであり、衝撃力としては抗頭部を打撃するものと振動を加えるものとに大別される。
(4) 静的破砕工法は、破破砕体に削岩機で孔をあけ、中に水と練り混ぜた膨張性の破砕剤を充填し、これが硬化膨張することによる圧力でひが割れを発生させることにより破砕する工法である。
(5) RCD工法は、セメント量を減じたノースランプの超硬練りコンクリートをダンプトラックなどで運搬し、ブルドーザで敷均し、振動ローラで締め固める全面レアー打設する工法である。
---------
正解は2
---------
記述はサンドドレーン工法です。
4-32 社会資本整備審議会道路分科会建議「品格ある国土と快適な生活の実現に向けた道路政策」(2007年6月)に記載された、道路を取り巻く状況に関する次の文章の、[a]、[b]、[c]に入る言葉として適切な組合せは(1)〜(5)のうちどれか。
「我が国では,1995年の阪神淡路大震災をはじめとして災害が相次ぎ、また、[a]は1977年以降ほぽ一貫して増加傾向にあり、安全・安心な生活環境の実現に対する国民の要請が一層高まっている。また、数次にわたる渋滞対策プログラムなどが実施された結果、渋滞による損失額は2005年度には[b]に減少するなどやや改善の兆しが見られるものの、未だ全国に渋滞の著しい箇所が約2,200箇所存在するなど、渋滞問題は引き続き主要な課題となっている。また、これまでの半世紀にわたり、渋滞や交通事故などの多くの課題に対応しながら道路整備が進められてきた結果、一定の道路ストックが形成されてきているが、今後はこれらの蓄積されたストックを[c]していくことが新たな課題となっている。」
| a | b | c | |
| (1) | 死傷事故件数 | 約1.1兆円 | 適切に管理し、有効に活用 |
| (2) | 死傷事故件数 | 約11兆円 | 適切に更新し、増強 |
| (3) | 死傷事故件数 | 約11兆円 | 適切に管理し、有効に活用 |
| (4) | 交通事故死者数 | 約1.1兆円 | 適切に更新し、増強 |
| (5) | 交通事故死者数 | 約11兆円 | 適切に管理し、有効に活用 |
---------
正解は3
---------
http://www.mlit.go.jp/road/singi/bunkakai/7pdf/79.pdf
4-33 環境影響評価(環境アセスメント)に関する次の記述のうち、誤っているものはどれか。
(1) 国が実施する事業は環境影響評価法に基づき、また、都道府県が実施する事業は各都道府県が定める条例に基づき、環境影響評価を行わなければならない。
(2) 事業者は、調査・予測・評価の結果と環境保全に関する自らの考え方を取りまとめた準備書について、一般の人々などにその内容を周知するための説明会を開催しなければならない。
(3) 環境保全の見地から意見のある人が事業者へ意見を述べる機会は、謬論影響評価法に基づく手続の中に2回設けられている。
(4) 事業に関する法律(例えば道路法や鉄道事業法など)に基づく許認可や補助金の交付にあたっての審査に環境保全の観点が含まれていない場合であっても、環境保全に適正に配慮していないと認められる事業に対して許認可や補助金の交付をしないようにできる規定が環境影響評価法には設けられている。
(5) 事業者は最終的な評価書を作成したことを公告するまでは、事業を実施することはできない。
---------
正解は1
---------
事業者に関わらず環境影響評価法に基づき行います。
4-34 建設環境関係の各種法令などに関する次の記述のうち、誤っているものはどれか。
(1) 振動規制法に定める特定建設作業の規制に関する基準では、特定建設作業の振動が、当該特定建設作業の場所の敷地境界線において、75デシベルを超える大きさのものでないこととされている。
(2) 騒音規制法により、指定地域内で特定建設作業を伴う建設工事を施工しようとする者は、当該特定建設作業の開始の日の7日前までに、都道府県知事に届け出なければならないとされている。
(3) 工事で使用する生コンクリートを製造するバッチャープラントは、生コンクリート製造業に該当するとして、水質汚濁防止法における特定施設として扱われている。
(4) 大気汚染防止法において、湿式のふるいは原動機の定格出力にかかわらず法律の一般粉じん発生施設に抵触しないので、都道府県知事への設置の届け出は不要である。
(5) 工作物の新築、改築又は除去に伴って生じたコンクリートの破片は、廃棄物の処理及び清掃に関する法律における産業廃棄物である。
---------
正解は2
---------
都道府県知事ではなく市町村長に届け出ます。
4-35 日本の異常気象と気候変動の実態に関する次の記述のうち、誤っているものはどれか。ただし、気象庁−異常気象レポート2005を基準とする。
(1) 月平均気温で見た場合,1990年代以降では異常高温が過去100年に無かった頻度で出現しているのに対して、異常低温はほとんど出現しなくなった。
(2) 日降水量が100mm以上や200mm以上の大雨の出現数には、1900年以降、長期的な増加傾向がある。
(3) 月降水量で見た場合、異常少雨の出現数には、1900年以降、長期的な増加傾向かある。
(4) 「強い」(最大風速が33m/s)以上の勢力を持つ台風について、台風の年間発生総数に対する発生割合には、1970年代末以降、長期的な増加傾向がある。
(5) 年降水量には,1890年代末以降、明瞭な長期的変化傾向は認められない。
---------
正解は4
---------
(臨時掲示板より引用)
気象庁−異常気象レポート2005 概要版 15P
「強い」(最大風速が33m/s)以上の勢力をもつ台風の発生数には、長期的な変化傾向はみられ
ない。
気象庁−異常気象レポート2005 概要版 31P
世界および日本の年降水量には、明瞭な長期的変化傾向は認められない。